日前,“4人法律咨询公司两年拿下千万法律服务大单”的话题引起社会的广泛关注。
南都·湾财社记者了解到,一家名为“圳向未来法律咨询(深圳)有限公司”的企业频频出现在深圳政府法律项目的中标公告中。这家成立不足三年的企业,天眼查2023年年报显示仅有四名员工,却打败专业律所,拿下深圳市规划和自然资源局、深圳住房公积金管理中心等多个政府部门法律服务项目。

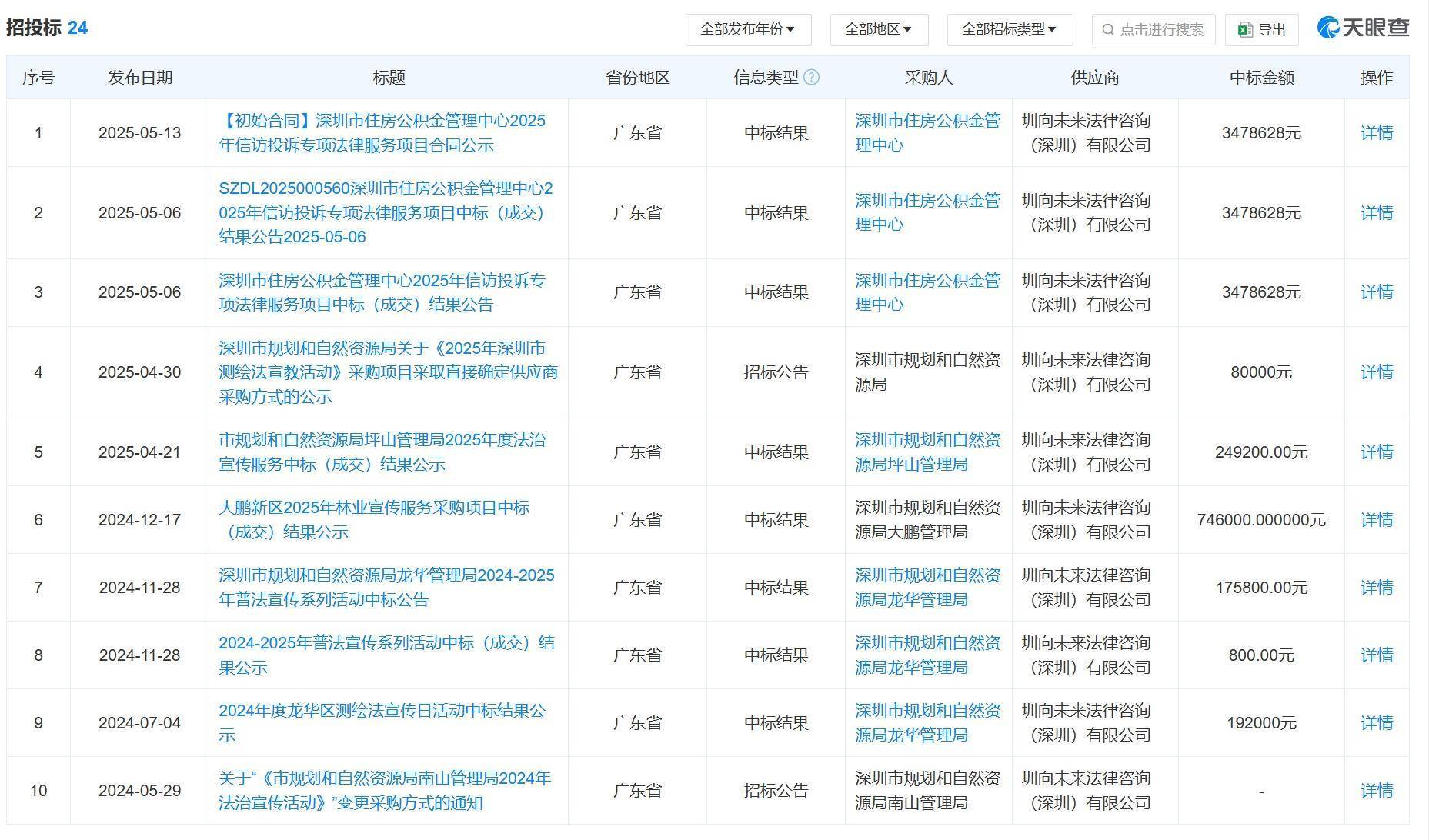
招投标信息。
随着该话题的发酵,也引发了人们对于公司资质与招标合规性的质疑。短时间内密集中标政府的多个项目,是否存在围标、串标或其他不正当竞争行为?法律咨询公司承接多个百万级政府项目又如何保证服务质量?
针对中标项目流程的合规性,中标企业的规模性等焦点话题,南都·湾财社记者近日展开调查。
100万注册资本撬动千万项目
那么圳向未来法律咨询(深圳)有限公司(简称“圳向未来”)是一家怎样的企业?这家企业又为何引起大众的关注?南都·湾财社记者从天眼查了解到,这家企业成立于2022年8月,企业注册资本为100万人民币,是一家以从事商务服务业为主的企业。

企业介绍。
在天眼查的招投标一栏可以看到,从2023年到2025年,圳向未来公司获得的各项招标项目总金额超过一千万元。
2025年至今,圳向未来公司成功中标三个项目。其中,深圳市规划和自然资源局关于《2025年深圳市测绘法宣教活动》采购项目中标金额为8万元;深圳市规划和自然资源局坪山管理局2025年度法治宣传服务项目,中标金额为24.92万元;另一个项目来自深圳市住房公积金管理中心2025年信访投诉专项法律服务项目中标金额为347.86万元。
在2024年,圳向未来公司中标了8个项目,同样均来深圳政府部门。其中中标金额最大的一笔来自深圳市住房公积金管理中心2024年信访投诉专项法律服务项目,中标金额高达591万。
作为认缴资本仅100万元的一人独资公司,圳向未来公司成立不足三年却连续中标多个大额政府项目,与专业律所的资质要求形成显著反差。有律师在接受记者采访时表示,在资深律师普遍难获业务的背景下,其中标结果明显有违市场常理。
“专业律师事务所应当是政府法律服务的首选。”上述律师提到,法律咨询公司的门槛很低,实际存在大量非专业人士,一家成立才两年多的法律咨询公司中标大量政府法律服务采购项目可能并不是那么令人信服。
公司资质引法律界质疑
法律界指出,法律咨询公司与律师事务所在监管层面存在本质差异,前者因市场监管漏洞而缺乏专业资质约束。
业内对圳向未来的质疑集中于两点:
其一,其前身“圳向未来数字科技”原主营电子产品销售、园林绿化等业务,2024年4月突然转型法律咨询后,中标政府法律项目的时间节点与招标周期高度吻合,被指“针对公共财政资源的精准转型”;

变更记录。
其二,该公司仅持有环境管理、职业健康安全、质量管理体系三项非法律资质认证,却通过招标资格审查,与法律服务专业性要求严重脱节。

资质证书。
更值得关注的是,深圳市住房公积金管理中心2025年招标项目:两家参与竞标的律所因未提交“中小企业声明函”被取消资格,最终入围的三家企业均为非律所机构。而招标文件将与法律服务无关的质量管理、职业健康安全管理体系认证设为评分标准,恰好匹配圳向未来持有的资质,此举被质疑存在“量体裁衣”的招标倾向。

综合评分法评标信息。
针对招标的合规性,记者联系到负责深圳市住房公积金管理中心招标项目的采购代理机构——深圳市瑞凝信招标咨询有限公司,该公司工作人员在电话中表示,相关招标流程符合规定,所有信息已在深圳政府采购智慧监管平台公示。作为招标代理机构,该公司主要负责发布公告和组织招投标流程,具体评审由专家负责,公众如对乙方资质有质疑,应向相关平台或监管机构提出。
管理费用低或是关键
年报显示仅4人的中小企业,如何承接百万级政府项目?有参与同类项目的业内人士在接受记者采访时推测,该公司可能使用外包“灵活人员”——项目期间由外包单位派驻,结束后即解散,但此说法尚无证据佐证。
对于转型背景、资质合规性及招标疑点等核心问题,记者多次致电圳向未来公开联系方式,但一直无法取得联系,涉事企业始终保持沉默,相关质疑尚未得到正面回应。
据知情人士透露,选择法律咨询公司中标或与其管理成本较低相关。业内数据显示,公司制律所通常提取30%-50%项目管理费,提成制律所提取25%-30%,而中小企业管理费约15%(含6%税费及5%运营成本)。
由于住房公积金欠缴投诉案件近年持续高发,公积金中心信访维稳压力显著增加。为将更多经费用于人员薪酬,同时鉴于广东省2022年《关于进一步加强政府采购促进中小企业发展的通知》(粤财采购〔2022〕6号)要求预留份额给中小企业,该项目招标时将资质条件限定为收费更低的中小企业,导致律师事务所无法参与投标。
另外知情人士向记者透露,圳向未来2024年、2025年实际缴纳社保人数为24人,市公积金中心与该企业合作时间为2024年和2025年,网络传言“4人法律咨询公司拿下大单”的情况或不属实。
采写:南都·湾财社记者 孙阳